蘋果表又有新專利啦!以后可能會變薄不少
最近曝光的AppleWatch描述了一種外置的觸覺反饋系統,可在一定程度上降低機身厚度。AppleWatch的一項新專利日前遭到了媒體的曝光。在專利...
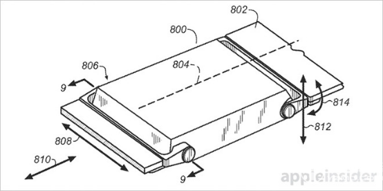
最近曝光的Apple Watch描述了一種外置的觸覺反饋系統,可在一定程度上降低機身厚度。

Apple Watch的一項新專利日前遭到了媒體的曝光。在專利當中,蘋果展示了一種將觸覺反饋機制從設備內部轉移到表帶上的方法,這將可以進一步降低Apple Watch的機身厚度。
蘋果的新專利描述了一根具備通知提醒功能的表帶,其搭扣或彈簧桿的位置內置觸覺反饋設備,可在佩戴者手腕的內測和側面提供觸覺反饋。

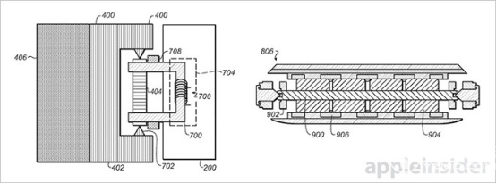
由于將線性致動器組件從機身當中挪出,Apple Watch本身的厚度也得到了一定程度的縮減。
根據描述,這個組件可在Apple Watch的機身以外進行橫向、左右、上下、或是旋轉移動,這和目前Apple Watch只能前后移動的震動馬達相比顯然進步了不少。此外,這種機制還可以還原蘋果Taptic Engine的運動,比如點擊和搖晃。

對于用戶而言,進一步縮減Apple Watch的厚度將會是一個受歡迎的改動。而在把致動器從機身中挪出之后,Apple Watch所能提供的觸覺反饋應該也會更容易被感覺到。
考慮到蘋果在今年6月份才申請到這項專利,下一代Apple Watch或許會配備相同的技術。
蘋果MacBook Pro顯示器發售 5K超高清售價7638元
蘋果于昨天開始發售LGUltraFine5K超高清顯示器,這款為全新MacBookPro設計的顯示器搭配Thunderbolt3雷電接口,可以實現5120×2880/60Hz的超高清顯示,美版售價976美元,國行版則隨后上架,價格高達7638元。...
蘋果MacBook Pro曾有土豪金版本 未來或許推出
據彭博社報道,蘋果于日前推出的MacBookPro原本還準備了土豪金版本,但是由于設計師認為配色不能和大尺寸設計相匹配,最終沒有推出,但是未來不排除蘋果會為了市場需求而推出此類配色的產品。...
蘋果AirPods無線耳機有硬傷?捂住耳朵便失靈
有用戶表示他收到的AirPods耳機有硬件缺陷,佩戴時捂住耳朵,便有一側耳機不出聲音。...
蘋果內部員工爆料:新MacBook Pro是妥協的產物
自從新版MacBookPro上市之后就一直被用戶所質疑,其中就包括續航能力比官方稱的要少得多以及接口單一等問題。所以外界紛紛猜測是不是現在蘋果的技術水平不行了,只能靠吃老本來過活。然而,一位蘋果內部員工爆料道“其實你們都想多了”,那么事實又是什么呢?讓我們一起來看看這位員工都說了些什么。...
蘋果放棄Mac Pro產品?開發者證實!
蘋果MacPro已經發布了3年有余,盡管售價很高,但其憑借著獨特的外觀設計和超群的性能仍然擁有著大批果粉用戶。...
三星新款Notebook 9發布 比蘋果MBP還好?
三星在今年的CES上發布了主打輕薄便攜的筆記本三星Notebook9,甚至在美國權威消費者雜志《消費者報告》的評分中擊敗了蘋果MacBookPro排名第一,日前三星又推出了新款的Notebook9,搭載Intel最新的KabeLake處理器,外觀配置也相應改變。...

