未來iPhone可直接觀看3D影像 牛了!
蘋果新聞網站AppleInsider周四早上發現了蘋果提交的一份專利申請。這項專利中提到的模擬3D影像技術從理論上說可以讓iPhone和其他...
蘋果新聞網站AppleInsider周四早上發現了蘋果提交的一份專利申請。這項專利中提到的模擬3D影像技術從理論上說可以讓iPhone和其他...
蘋果新聞網站AppleInsider周四早上發現了蘋果提交的一份專利申請。這項專利中提到的模擬3D影像技術從理論上說可以讓iPhone和其他設備的顯示屏變成一種自動立體顯示屏,用戶無需佩戴特殊眼鏡就能看到3D影像。

裸眼3D手機效果
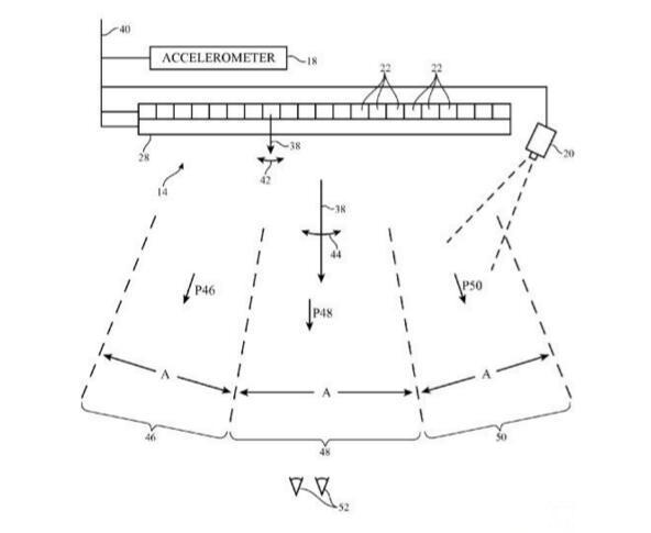
這項專利描述了一種帶有次級子像素陣列和透鏡結構的像素陣列,透鏡結構可以從很多不同的角度發光。其中最關鍵的組件是“光線導向器”,它可以將正確的光線導向觀察者。

蘋果專利技術圖解
相關設備可以利用攝像頭和/或加速計來判斷該把光導向什么方向。雖然這項專利的潛在應用方向可能是移動設備,但是蘋果肯定會嘗試將這項技術應用到MacBook中。
到目前為止,裸眼3D在消費電子產品上還遠遠談不上成功。亞馬遜曾經通過Fire手機做過一次嘗試,它并沒有實現真正的立體效應,但卻使用了一種“動態視角”感應器系統。
這項專利申請是在2015年1月提交的,發明人是蘋果顯示器技術高級經理讓·雅各·德羅萊(Jean-Jacques Drolet)。
分享到:
投訴收藏

