Surface Pro 8新特性開始曝光,微軟Surface Pro 7即將上市開售
10月初的時候,微軟發布了Surface Pro 7,該產品升級到了英特爾第十代酷睿處理器,并增加了USB-C接口,即將上市開售。而目前有關于下一代Surface Pro 8的新特性已經開始曝光了。...
11月1日訊,10月初的時候,微軟發布了Surface Pro 7,該產品升級到了英特爾第十代酷睿處理器,并增加了USB-C接口,即將上市開售。而目前有關于下一代Surface Pro 8的新特性已經開始曝光了。

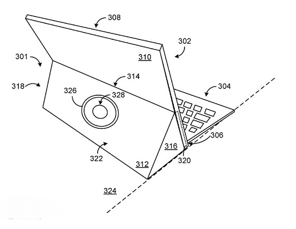
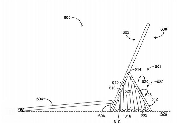
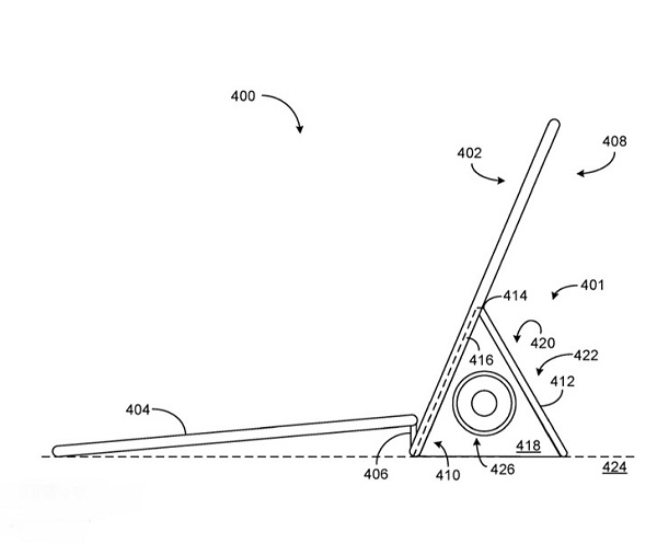
根據最新發布出來的專利,微軟正在尋求提高Surface平板電腦中揚聲器的聲音質量。微軟指出,輕薄型設備的揚聲器空間有限,其質量尚有許多不足之處。

在近期發布但最早于2018年4月30日提交的專利中,微軟認為Surface的支架可以裝上合適的揚聲器。將揚聲器放置在此處的另一個優點是,支架和Surface之間的空間可以充當共鳴箱,增強低音。

為了改進此元素,微軟設想使用某種擋板來封閉空間兩端的部分,并在支架的末端使用橡膠或類似材料來確保與桌子的良好密封。
此外,微軟還有意將移動電話中的微型揚聲器安裝在支架擋板上,因為其體積小。微軟指出,主揚聲器可能是傳統帶有磁鐵的揚聲器,也可能是壓電揚聲器,因此更加輕薄。

微軟還指出PC可以追蹤支架的位置(打開或關閉)信息,并調整PC發送給揚聲器的聲音特征。微軟的這一專利功能看起來雄心勃勃,最快將在Surface Pro 8上實現。
- 微軟正為Win10X系統的Surface Neo/Duo開發“控制邏輯
- 微軟:Win7專業版即將于2020年1月14日結束支持
- 國內Windows系統盜版如此猖獗,微軟為什么不追究呢?
- 微軟宣布所有用戶都可以使用Win10系統的篡改保護功能
- 微軟推出Windows 10 v1809一系列更新補丁:黑屏BUG問題
- 微軟在應用程序新圖標設計中加入Windows 10X的元素
- 微軟10月發布會:Surface Pro 7將會有五種不同配置版本
- 微軟首次提及Windows Core OS 其存在正式被確認
- 微軟Build2020開發者大會將于2020年5月19日西雅圖舉行
- 微軟宣布Build 2020開發者大會于明年5月舉行
微軟正為Win10X系統的Surface Neo/Duo開發“控制邏輯”
,微軟發布了搭載Win10X系統的Surface Neo以及搭載Android系統的Surface Duo。而新設備將會在2020年圣誕假期發貨,但是微軟很顯然正在尋找該設備的下一個迭代版本或者或改進現有的原型。...
微軟:Win7專業版即將于2020年1月14日結束支持
早在今年4月份的時候,Windows 7家庭版用戶就收到了微軟的彈窗通知,表示該系統的生命支持周期即將結束。而從本周開始,win7專業版(windows 7Pro)用戶也悄悄入選“騷擾”陣容。...
國內Windows系統盜版如此猖獗,微軟為什么不追究呢?
相信大家的第一款電腦系統都是Windows xp系統,在哪個時候,絕大部分電腦系統都是盜版的,到這里大家估計都想問了:“既然國內盜版如此猖獗,那么微軟為什么不追究呢?”...
微軟宣布所有用戶都可以使用Win10系統的篡改保護功能
近期,微軟宣布所有用戶都可以使用Win10系統的篡改保護功能。一般來說,黑客會試圖停止Windows Defender防病毒服務,方便獲得對計算機的完全訪問權限。微軟的篡改防護功能可...
微軟推出Windows 10 v1809一系列更新補丁:黑屏BUG問題被修復
10月16日訊,微軟最新推送了一系列累積更新補丁,對于那些正在使用Windows 10 v1809的用戶們來說,微軟強烈推薦其進行升級,通過最新累積更新補丁,一個存在四個月的黑屏bug終于...
微軟在應用程序新圖標設計中加入Windows 10X的元素
office套件在去年的時候更新了圖標,一直以來,microsoft一直都在穩步改進其圖標設計,從文件管理器圖標、Groove Music音樂播放器圖標以及Visual Studio圖標。而到現在終于輪到“地圖”、“鬧鐘”和“人脈”等應用程序更換全新圖標設計了。...
微軟10月發布會:Surface Pro 7將會有五種不同配置版本
10月份的時候,微軟將舉辦硬件發布會活動,這是專門為Surface Pro 7和Surface Laptop 3以及Surface Centaurus舉辦的。而根據最近最新泄露出來的消息,Surface Pro 7會有五種不同配置版本,并且還有可能配備英特爾Ice Lake CPU,后者提供了功能強大的集成Gen11圖形引擎。...
微軟首次提及Windows Core OS 其存在正式被確認
在這個win7即將“退休”,win8.1用的人少的時代,win10幾乎被微軟當成一項長期的事業,相信還要很久才能等到Windows 11的到來。但是在暗地里,微軟也是在研發其他新系統的,比如Windows Core OS。...
微軟Build2020開發者大會將于2020年5月19日西雅圖舉行
微軟官方于今天正式宣布,明年的5月19日至5月21日,微軟將會在西雅圖舉行Bui ld2020 開發者大會, 但是微軟官方暫時還沒有公布門票的開售時間。...
微軟宣布Build 2020開發者大會于明年5月舉行
微軟的Build 2020開發者大會的舉行時間已經得到了確認,將在2020年5月19日至21日于西雅圖舉行。此外,還有微軟Inspire合作伙伴會議將于2020年7月20日至24日舉行。微軟商業應用峰會將于2020年4月20日至21日舉行。...

