迪斯尼新專利曝光 通過鞋子追蹤每位游客
迪斯尼新專利曝光,通過鞋子追蹤每位游客,迪斯尼在專利描述中表示追蹤鞋子要比面部識別更為高效,在專利中寫道鞋子的款式在外貌、顏色上都有很大程度的差異,能夠幫助減少系統識別特定游客的混亂。...
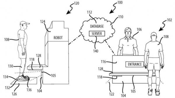
IT科技網消息,迪斯尼新專利曝光,通過鞋子追蹤每位游客,據了解,迪斯尼公司獲得最新專利能夠讓它的主題公園頭銜從“全球最快樂的地方”更名為“全球最怪異的地方”。這項專利的設想是當你邁入公園、隱藏式相機將會拍攝下你所穿著的鞋子照片,隨后獲取包括名字、喜歡的迪斯尼角色、喜歡的食物、城鎮和喜歡的項目等客戶信息。遍布主題公園的機器人就能尋找到你,并收集你是如何在園區內行走,你排隊等待了多長時間或者嘗試了哪些項目。

迪斯尼在專利描述中表示追蹤鞋子要比面部識別更為高效,在專利中寫道鞋子的款式在外貌、顏色上都有很大程度的差異,能夠幫助減少系統識別特定游客的混亂。

-
無相關信息
分享到:
投訴收藏

