蘋果專利曝光 圓形表盤Apple Watch來襲
5月9日消息,美國專利商標局(USPTO)剛剛授予了蘋果一項專利,該專利的特殊之處在于它在這塊圓形屏幕上用了行列長短不同的像素來提升屏幕的利用率,這意味著蘋果已經準備好了圓形...
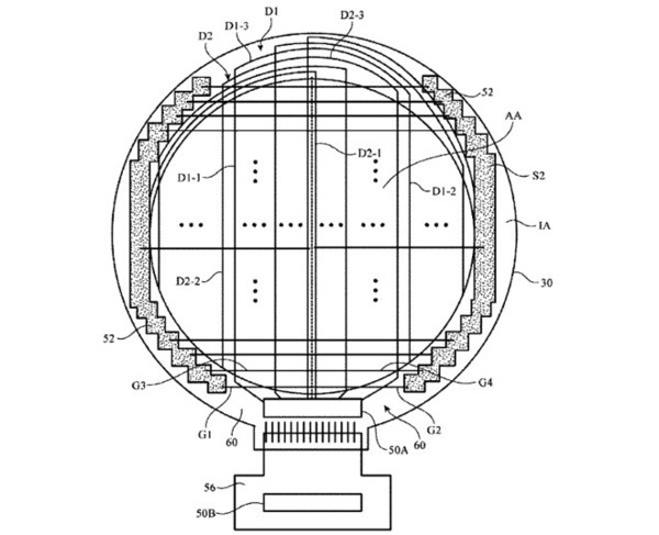
5月9日消息,美國專利商標局(USPTO)剛剛授予了蘋果一項專利,該專利的特殊之處在于它在這塊圓形屏幕上用了行列長短不同的像素來提升屏幕的利用率,這意味著蘋果已經準備好了圓形表盤的AppleWatch。這個專利早在2016年1月就提交到了美國專利商標局,而當時離Apple Watch發布還有8個月。

Apple Watch專利圖

Apple Watch專利圖與網傳渲染圖
這個專利可以通過減少像素數量,利用不規則的像素行和列,來提高Apple Watch的顯示效果。至于Apple Watch的形狀是方形好還是圓形好,一定會引起比較大的爭論。從我們的認知來看,手表產品似乎都是圓形的,方形的手表一般作為時裝表售賣,不是很主流,圓形手表我們更易接受。

網傳Apple Watch渲染圖

網傳Apple Watch渲染圖
其實,在以往的Apple Watch產品中,圓形的設計元素非常多。Apple Watch 3雖然是方臉的,但無論是Watch OS的桌面、圖標還是運動中心等內容,都是以圓形的設計元素為主。網友們已經準備好了各種圓形表盤的Apple Watch渲染圖了,簡直能夠以假亂真,顏值真的不錯。
蘋果iOS 11.3/11.4曝bug:“黑點錯誤”導致設備崩潰
還記得幾個月前那個會導致iPhone崩潰的印度字符嗎?當時蘋果為了修復這個bug緊急上線了iOS 11.2.6版本。沒想到今天iOS又爆出了類似的問題,當我們輸入、讀取表情符號? 的時候,...
蘋果8無線充電怎么充,有哪些好處與壞處
眾所周知,這次蘋果公司推出的iPhone 8是采用無線充電功能,乍一聽起來覺得很酷炫,可是無線充電要怎么充電呢?這是用戶們最關心的,無線充電真的有傳說中那么好用嗎?下面一起跟著小...
蘋果關閉了iOS 11.3系統的驗證通道
蘋果已經發布iOS 11.3.1正式版系統,同時iOS 11.4開發者預覽版以及公測版也已經公布,現在蘋果關閉了iOS 11.3系統的驗證通道,也就是說用戶一旦升級到iOS 11.3.1系統,想要吃后悔藥...
提升續航 iPhone省電優化技巧 蘋果手機耗電太快怎么辦?
要說蘋果手機最大短板是什么,很多朋友都會說續航。萬年電池小,不支持快充,成為歷代iPhone的通病,即便是最新的iPhone 8/X雖然支持快充,但標配充電器依然不支持快充,不單獨買快...
臺積電調低利潤預期 蘋果公司市值蒸發640億美元
4月25日消息,自上周五以來,蘋果公司的股價累計下跌了7.1%,市值因此下降了639億美元。此次股價下跌主要原因是,蘋果重要合作伙伴臺積電于上周四公布了低于華爾街期望的第二季度利...
iPhone X一季度銷量僅占到蘋果機16% 遠不如8系列
最近的各種消息和華爾街分析師報告指出,蘋果公司的iPhone X在市場上遭遇了失敗,銷售低迷,蘋果已經大幅砍掉了生產和采購計劃。據外媒最新消息,日前美國一家市場機構的統計數據再...

